XH GUI


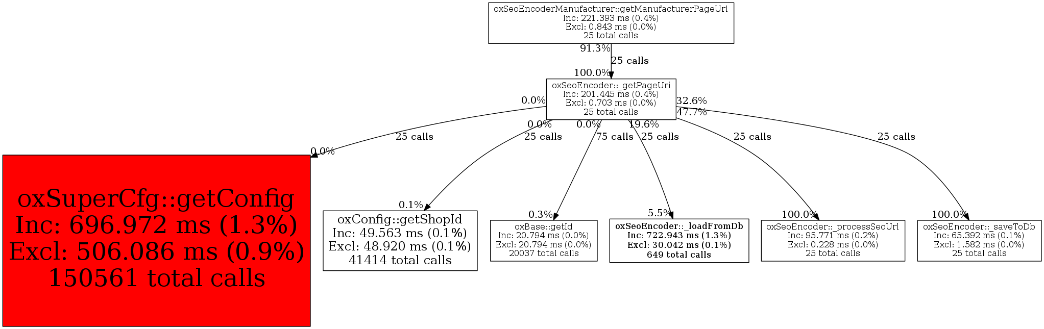
Parent/Child report for oxSeoEncoder::_getPageUri [View Callgraph ]


Function NameCallsCalls%Incl. Wall Time
(microsec)
IWall%Incl. CPU
(microsecs)
ICpu%Incl.
MemUse
(bytes)
IMemUse%Incl.
PeakMemUse
(bytes)
IPeakMemUse%
Current Function
oxSeoEncoder::_getPageUri25 10.8% 201,445 0.4% 52,002 0.2% 109,832 0.2% 141,600 0.0%
Exclusive Metrics for Current Function703 0.3% 0 0.0% -368 -0.3% 832 0.6%
Parent function
oxSeoEncoderManufacturer::getManufacturerPageUrl25 100.0% 201,445 100.0% 52,002 100.0% 109,832 100.0% 141,600 100.0%
Child functions
oxSeoEncoder::_processSeoUrl25 12.5% 95,771 47.5% 4,000 7.7% 89,272 81.3% 94,456 66.7%
oxSeoEncoder::_saveToDb25 12.5% 65,392 32.5% 28,001 53.8% 21,704 19.8% 32,432 22.9%
oxSeoEncoder::_loadFromDb25 12.5% 39,403 19.6% 20,001 38.5% -6,096 -5.6% 12,680 9.0%
oxSuperCfg::getConfig25 12.5% 88 0.0% 0 0.0% 3,112 2.8% 0 0.0%
oxBase::getId75 37.5% 63 0.0% 0 0.0% 1,104 1.0% 656 0.5%
oxConfig::getShopId25 12.5% 25 0.0% 0 0.0% 1,104 1.0% 544 0.4%