(microsec) | (microsecs) | MemUse (bytes) | PeakMemUse (bytes) | |||||||
|---|---|---|---|---|---|---|---|---|---|---|
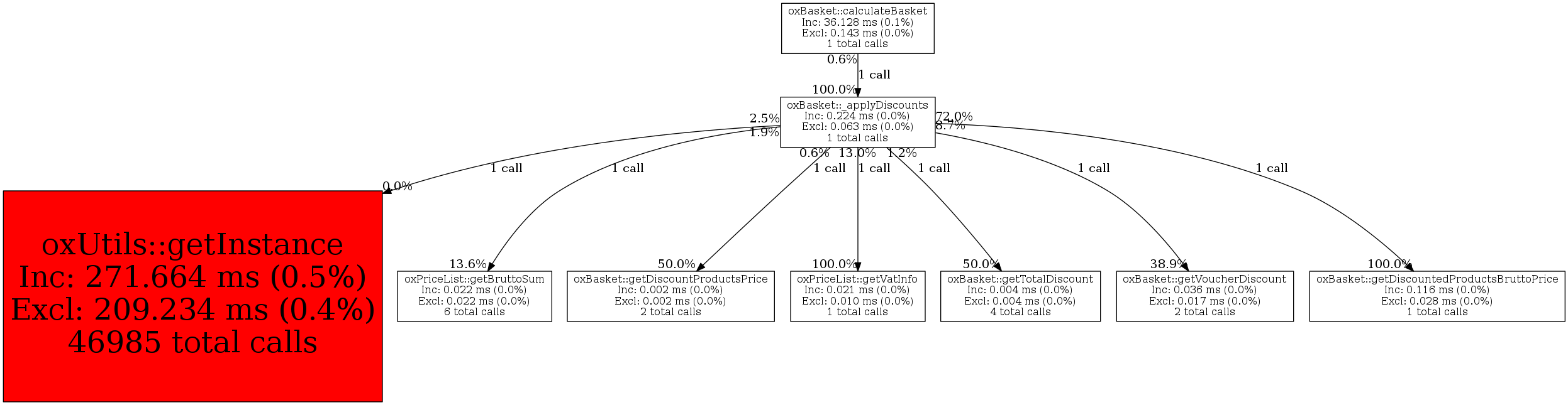
| oxBasket::_applyDiscounts | 1 | 7.1% | 224 | 0.0% | 0 | 0.0% | 24,528 | 0.1% | 24,048 | 0.0% |
| Exclusive Metrics for Current Function | 63 | 28.1% | 0 | N/A% | 3,944 | 16.1% | 4,056 | 16.9% | ||
| oxBasket::calculateBasket | 1 | 100.0% | 224 | 100.0% | 0 | N/A% | 24,528 | 100.0% | 24,048 | 100.0% |
| oxBasket::getDiscountedProductsBruttoPrice | 1 | 14.3% | 116 | 51.8% | 0 | N/A% | 12,000 | 48.9% | 11,688 | 48.6% |
| oxPriceList::getVatInfo | 1 | 14.3% | 21 | 9.4% | 0 | N/A% | 2,944 | 12.0% | 2,824 | 11.7% |
| oxBasket::getVoucherDiscount | 1 | 14.3% | 14 | 6.2% | 0 | N/A% | 1,112 | 4.5% | 1,192 | 5.0% |
| oxUtils::getInstance | 1 | 14.3% | 4 | 1.8% | 0 | N/A% | 1,104 | 4.5% | 1,104 | 4.6% |
| oxPriceList::getBruttoSum | 1 | 14.3% | 3 | 1.3% | 0 | N/A% | 1,192 | 4.9% | 1,072 | 4.5% |
| oxBasket::getTotalDiscount | 1 | 14.3% | 2 | 0.9% | 0 | N/A% | 1,112 | 4.5% | 1,112 | 4.6% |
| oxBasket::getDiscountProductsPrice | 1 | 14.3% | 1 | 0.4% | 0 | N/A% | 1,120 | 4.6% | 1,000 | 4.2% |