(microsec) | (microsecs) | MemUse (bytes) | PeakMemUse (bytes) | |||||||
|---|---|---|---|---|---|---|---|---|---|---|
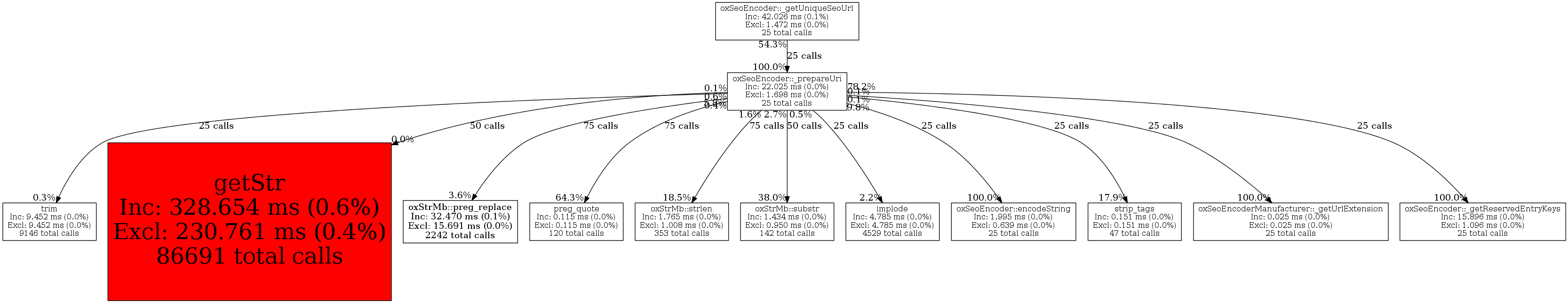
| oxSeoEncoder::_prepareUri | 25 | 4.9% | 22,025 | 0.0% | 4,001 | 0.0% | 60,144 | 0.1% | 73,264 | 0.0% |
| Exclusive Metrics for Current Function | 1,698 | 7.7% | 0 | 0.0% | -185,648 | -308.7% | 4,952 | 6.8% | ||
| oxSeoEncoder::_getUniqueSeoUrl | 25 | 100.0% | 22,025 | 100.0% | 4,001 | 100.0% | 60,144 | 100.0% | 73,264 | 100.0% |
| oxSeoEncoder::_getReservedEntryKeys | 25 | 5.3% | 15,896 | 72.2% | 4,001 | 100.0% | 167,328 | 278.2% | 45,184 | 61.7% |
| oxSeoEncoder::encodeString | 25 | 5.3% | 1,995 | 9.1% | 0 | 0.0% | 15,600 | 25.9% | 14,168 | 19.3% |
| oxStrMb::preg_replace | 75 | 15.8% | 1,183 | 5.4% | 0 | 0.0% | 14,408 | 24.0% | 3,536 | 4.8% |
| oxStrMb::substr | 50 | 10.5% | 545 | 2.5% | 0 | 0.0% | 8,704 | 14.5% | 1,056 | 1.4% |
| oxStrMb::strlen | 75 | 15.8% | 326 | 1.5% | 0 | 0.0% | 7,104 | 11.8% | 976 | 1.3% |
| getStr | 50 | 10.5% | 128 | 0.6% | 0 | 0.0% | 1,096 | 1.8% | 496 | 0.7% |
| implode | 25 | 5.3% | 103 | 0.5% | 0 | 0.0% | 14,096 | 23.4% | 496 | 0.7% |
| preg_quote | 75 | 15.8% | 74 | 0.3% | 0 | 0.0% | 7,096 | 11.8% | 736 | 1.0% |
| strip_tags | 25 | 5.3% | 27 | 0.1% | 0 | 0.0% | 2,944 | 4.9% | 384 | 0.5% |
| trim | 25 | 5.3% | 25 | 0.1% | 0 | 0.0% | 2,888 | 4.8% | 384 | 0.5% |
| oxSeoEncoderManufacturer::_getUrlExtension | 25 | 5.3% | 25 | 0.1% | 0 | 0.0% | 4,528 | 7.5% | 896 | 1.2% |