XH GUI


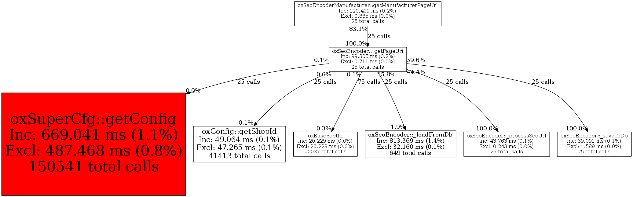
Parent/Child report for oxSeoEncoder::_getPageUri [View Callgraph ]


Function NameCallsCalls%Incl. Wall Time
(microsec)
IWall%Incl. CPU
(microsecs)
ICpu%Incl.
MemUse
(bytes)
IMemUse%Incl.
PeakMemUse
(bytes)
IPeakMemUse%
Current Function
oxSeoEncoder::_getPageUri25 10.8% 99,305 0.2% 56,004 0.2% 109,832 0.2% 142,720 0.0%
Exclusive Metrics for Current Function711 0.7% 0 0.0% -368 -0.3% 832 0.6%
Parent function
oxSeoEncoderManufacturer::getManufacturerPageUrl25 100.0% 99,305 100.0% 56,004 100.0% 109,832 100.0% 142,720 100.0%
Child functions
oxSeoEncoder::_processSeoUrl25 12.5% 43,763 44.1% 12,001 21.4% 89,272 81.3% 95,576 67.0%
oxSeoEncoder::_saveToDb25 12.5% 39,091 39.4% 32,001 57.1% 21,704 19.8% 32,432 22.7%
oxSeoEncoder::_loadFromDb25 12.5% 15,560 15.7% 12,002 21.4% -6,096 -5.6% 12,680 8.9%
oxSuperCfg::getConfig25 12.5% 97 0.1% 0 0.0% 3,112 2.8% 0 0.0%
oxBase::getId75 37.5% 58 0.1% 0 0.0% 1,104 1.0% 656 0.5%
oxConfig::getShopId25 12.5% 25 0.0% 0 0.0% 1,104 1.0% 544 0.4%