(microsec) | (microsecs) | MemUse (bytes) | PeakMemUse (bytes) | |||||||
|---|---|---|---|---|---|---|---|---|---|---|
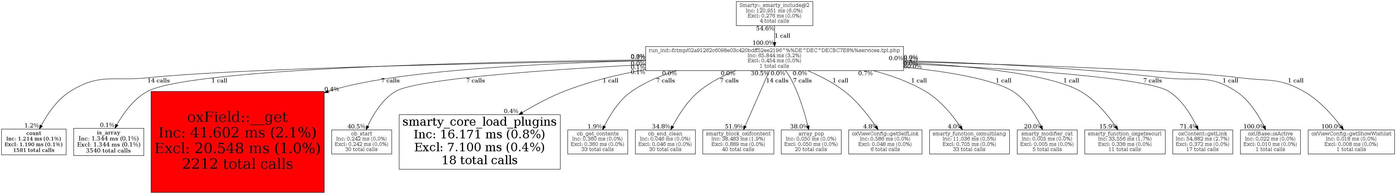
| run_init::fctmp/02a91262c6098e03c420bdff52ee2196^%%DE^DEC^DECBC7E8%%services.tpl.php | 1 | 0.8% | 65,844 | 3.2% | 20,001 | 2.1% | 312,640 | 1.3% | 298,512 | 1.2% |
| Exclusive Metrics for Current Function | 454 | 0.7% | 0 | 0.0% | 11,752 | 3.8% | 0 | 0.0% | ||
| Smarty::_smarty_include@2 | 1 | 100.0% | 65,844 | 100.0% | 20,001 | 100.0% | 312,640 | 100.0% | 298,512 | 100.0% |
| oxContent::getLink | 7 | 9.0% | 39,203 | 59.5% | 4,000 | 20.0% | 5,816 | 1.9% | 20,600 | 6.9% |
| smarty_block_oxifcontent | 14 | 17.9% | 19,955 | 30.3% | 8,001 | 40.0% | 270,416 | 86.5% | 157,880 | 52.9% |
| smarty_function_oxgetseourl | 1 | 1.3% | 5,337 | 8.1% | 4,000 | 20.0% | 2,744 | 0.9% | 0 | 0.0% |
| smarty_function_oxmultilang | 1 | 1.3% | 443 | 0.7% | 0 | 0.0% | 1,176 | 0.4% | 6,384 | 2.1% |
| oxField::__get | 7 | 9.0% | 164 | 0.2% | 0 | 0.0% | 1,920 | 0.6% | 176 | 0.1% |
| ob_start | 7 | 9.0% | 98 | 0.1% | 0 | 0.0% | 289,664 | 92.7% | 113,248 | 37.9% |
| smarty_core_load_plugins | 1 | 1.3% | 63 | 0.1% | 4,000 | 20.0% | 1,168 | 0.4% | 0 | 0.0% |
| oxViewConfig::getSelfLink | 1 | 1.3% | 28 | 0.0% | 0 | 0.0% | 1,328 | 0.4% | 0 | 0.0% |
| oxUBase::isActive | 1 | 1.3% | 22 | 0.0% | 0 | 0.0% | 4,200 | 1.3% | 0 | 0.0% |
| array_pop | 7 | 9.0% | 19 | 0.0% | 0 | 0.0% | -248 | -0.1% | 0 | 0.0% |
| oxViewConfig::getShowWishlist | 1 | 1.3% | 18 | 0.0% | 0 | 0.0% | 4,240 | 1.4% | 0 | 0.0% |
| ob_end_clean | 7 | 9.0% | 16 | 0.0% | 0 | 0.0% | -287,352 | -91.9% | 0 | 0.0% |
| count | 14 | 17.9% | 15 | 0.0% | 0 | 0.0% | 1,152 | 0.4% | 0 | 0.0% |
| ob_get_contents | 7 | 9.0% | 7 | 0.0% | 0 | 0.0% | 2,160 | 0.7% | 224 | 0.1% |
| is_array | 1 | 1.3% | 1 | 0.0% | 0 | 0.0% | 1,152 | 0.4% | 0 | 0.0% |
| smarty_modifier_cat | 1 | 1.3% | 1 | 0.0% | 0 | 0.0% | 1,352 | 0.4% | 0 | 0.0% |