XH GUI


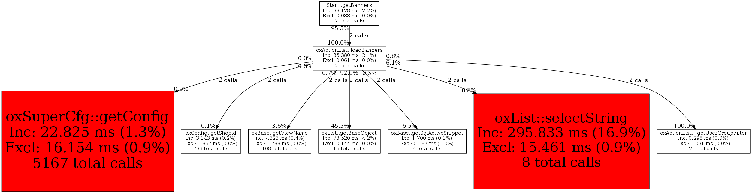
Parent/Child report for oxActionList::loadBanners [View Callgraph ]


Function NameCallsCalls%Incl. Wall Time
(microsec)
IWall%Incl. CPU
(microsecs)
ICpu%Incl.
MemUse
(bytes)
IMemUse%Incl.
PeakMemUse
(bytes)
IPeakMemUse%
Current Function
oxActionList::loadBanners2 3.6% 36,380 2.1% 8,001 0.9% 135,288 0.5% 132,760 0.5%
Exclusive Metrics for Current Function61 0.2% 0 0.0% 2,384 1.8% 3,480 2.6%
Parent function
Start::getBanners2 100.0% 36,380 100.0% 8,001 100.0% 135,288 100.0% 132,760 100.0%
Child functions
oxList::getBaseObject2 14.3% 33,420 91.9% 4,001 50.0% 92,952 68.7% 86,712 65.3%
oxList::selectString2 14.3% 2,220 6.1% 4,000 50.0% 28,056 20.7% 32,840 24.7%
oxActionList::_getUserGroupFilter2 14.3% 298 0.8% 0 0.0% 6,584 4.9% 7,664 5.8%
oxBase::getViewName2 14.3% 260 0.7% 0 0.0% 1,248 0.9% 32 0.0%
oxBase::getSqlActiveSnippet2 14.3% 111 0.3% 0 0.0% 1,688 1.2% 920 0.7%
oxSuperCfg::getConfig2 14.3% 8 0.0% 0 0.0% 1,272 0.9% 560 0.4%
oxConfig::getShopId2 14.3% 2 0.0% 0 0.0% 1,104 0.8% 552 0.4%