(microsec) | (microsecs) | MemUse (bytes) | PeakMemUse (bytes) | |||||||
|---|---|---|---|---|---|---|---|---|---|---|
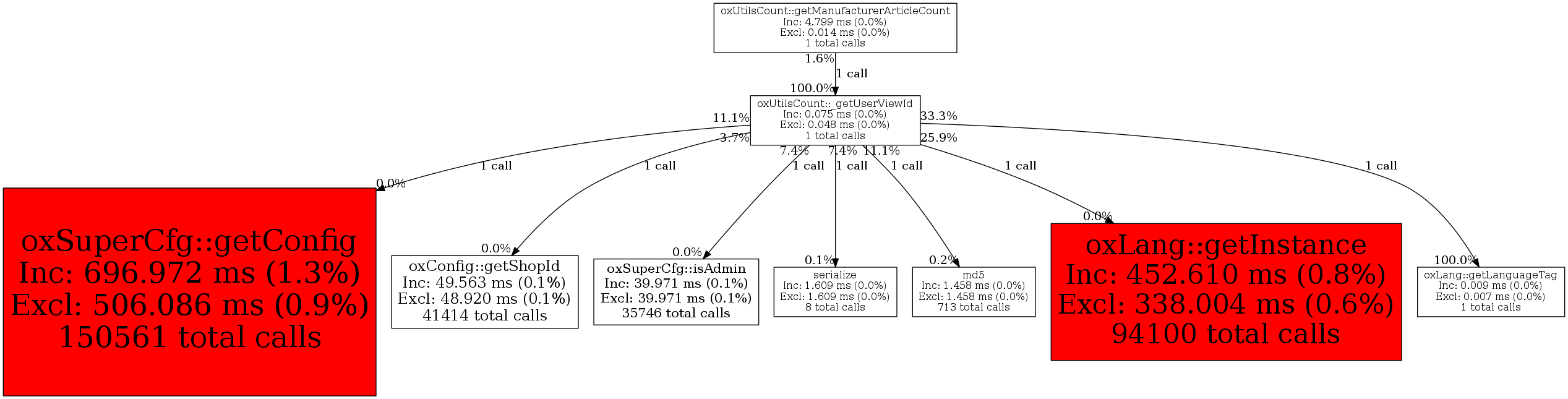
| oxUtilsCount::_getUserViewId | 1 | 7.1% | 75 | 0.0% | 0 | 0.0% | 13,480 | 0.0% | 7,848 | 0.0% |
| Exclusive Metrics for Current Function | 48 | 64.0% | 0 | N/A% | 3,696 | 27.4% | 2,608 | 33.2% | ||
| oxUtilsCount::getManufacturerArticleCount | 1 | 100.0% | 75 | 100.0% | 0 | N/A% | 13,480 | 100.0% | 7,848 | 100.0% |
| oxLang::getLanguageTag | 1 | 14.3% | 9 | 12.0% | 0 | N/A% | 2,768 | 20.5% | 1,592 | 20.3% |
| oxLang::getInstance | 1 | 14.3% | 7 | 9.3% | 0 | N/A% | 1,112 | 8.2% | 672 | 8.6% |
| md5 | 1 | 14.3% | 3 | 4.0% | 0 | N/A% | 1,184 | 8.8% | 528 | 6.7% |
| oxSuperCfg::getConfig | 1 | 14.3% | 3 | 4.0% | 0 | N/A% | 1,192 | 8.8% | 560 | 7.1% |
| serialize | 1 | 14.3% | 2 | 2.7% | 0 | N/A% | 1,224 | 9.1% | 960 | 12.2% |
| oxSuperCfg::isAdmin | 1 | 14.3% | 2 | 2.7% | 0 | N/A% | 1,192 | 8.8% | 368 | 4.7% |
| oxConfig::getShopId | 1 | 14.3% | 1 | 1.3% | 0 | N/A% | 1,112 | 8.2% | 560 | 7.1% |