(microsec) | (microsecs) | MemUse (bytes) | PeakMemUse (bytes) | |||||||
|---|---|---|---|---|---|---|---|---|---|---|
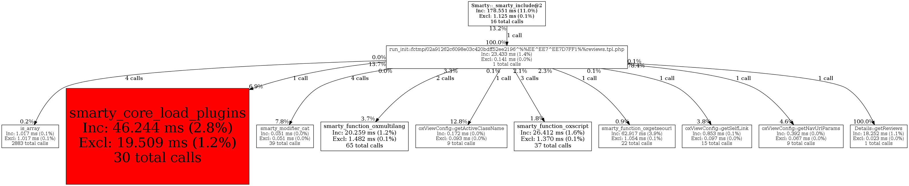
| run_init::fctmp/02a91262c6098e03c420bdff52ee2196^%%EE^EE7^EE7D7FF1%%reviews.tpl.php | 1 | 3.8% | 23,433 | 1.4% | 12,001 | 1.8% | 156,752 | 0.8% | 164,560 | 0.8% |
| Exclusive Metrics for Current Function | 141 | 0.6% | 0 | 0.0% | 2,400 | 1.5% | 544 | 0.3% | ||
| Smarty::_smarty_include@2 | 1 | 100.0% | 23,433 | 100.0% | 12,001 | 100.0% | 156,752 | 100.0% | 164,560 | 100.0% |
| Details::getReviews | 1 | 5.3% | 18,252 | 77.9% | 8,000 | 66.7% | 128,456 | 81.9% | 61,096 | 37.1% |
| smarty_core_load_plugins | 1 | 5.3% | 3,187 | 13.6% | 4,001 | 33.3% | 13,904 | 8.9% | 248 | 0.2% |
| smarty_function_oxmultilang | 2 | 10.5% | 759 | 3.2% | 0 | 0.0% | 1,176 | 0.8% | 97,968 | 59.5% |
| smarty_function_oxgetseourl | 1 | 5.3% | 535 | 2.3% | 0 | 0.0% | 1,568 | 1.0% | 3,744 | 2.3% |
| smarty_function_oxscript | 3 | 15.8% | 481 | 2.1% | 0 | 0.0% | 2,328 | 1.5% | 40 | 0.0% |
| oxViewConfig::getSelfLink | 1 | 5.3% | 32 | 0.1% | 0 | 0.0% | 1,328 | 0.8% | 232 | 0.1% |
| oxViewConfig::getActiveClassName | 1 | 5.3% | 22 | 0.1% | 0 | 0.0% | 1,176 | 0.8% | 0 | 0.0% |
| oxViewConfig::getNavUrlParams | 1 | 5.3% | 18 | 0.1% | 0 | 0.0% | 1,368 | 0.9% | 240 | 0.1% |
| smarty_modifier_cat | 4 | 21.1% | 4 | 0.0% | 0 | 0.0% | 1,896 | 1.2% | 232 | 0.1% |
| is_array | 4 | 21.1% | 2 | 0.0% | 0 | 0.0% | 1,152 | 0.7% | 216 | 0.1% |