(microsec) | (microsecs) | MemUse (bytes) | PeakMemUse (bytes) | |||||||
|---|---|---|---|---|---|---|---|---|---|---|
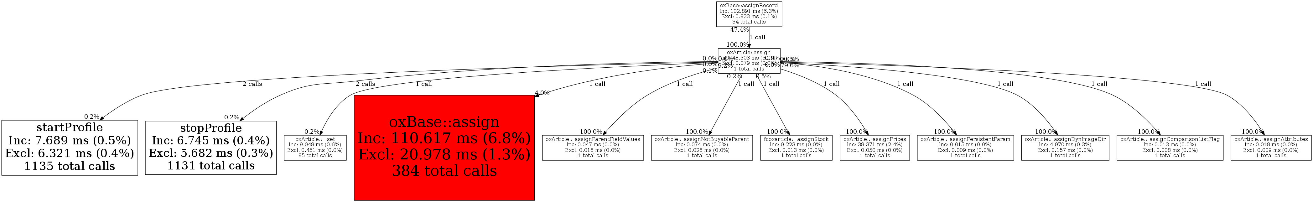
| oxArticle::assign | 1 | 4.8% | 48,303 | 3.0% | 16,001 | 2.4% | 890,376 | 4.3% | 891,024 | 4.2% |
| Exclusive Metrics for Current Function | 79 | 0.2% | 0 | 0.0% | 6,216 | 0.7% | 4,688 | 0.5% | ||
| oxBase::assignRecord | 1 | 100.0% | 48,303 | 100.0% | 16,001 | 100.0% | 890,376 | 100.0% | 891,024 | 100.0% |
| oxArticle::_assignPrices | 1 | 7.1% | 38,371 | 79.4% | 12,001 | 75.0% | 661,504 | 74.3% | 667,024 | 74.9% |
| oxArticle::_assignDynImageDir | 1 | 7.1% | 4,970 | 10.3% | 0 | 0.0% | 92,496 | 10.4% | 88,544 | 9.9% |
| oxBase::assign | 1 | 7.1% | 4,446 | 9.2% | 4,000 | 25.0% | 81,272 | 9.1% | 89,384 | 10.0% |
| fcoxarticle::_assignStock | 1 | 7.1% | 223 | 0.5% | 0 | 0.0% | 18,912 | 2.1% | 18,912 | 2.1% |
| oxArticle::_assignNotBuyableParent | 1 | 7.1% | 74 | 0.2% | 0 | 0.0% | 7,056 | 0.8% | 5,848 | 0.7% |
| oxArticle::_assignParentFieldValues | 1 | 7.1% | 47 | 0.1% | 0 | 0.0% | 7,064 | 0.8% | 4,416 | 0.5% |
| oxArticle::_assignAttributes | 1 | 7.1% | 18 | 0.0% | 0 | 0.0% | 4,160 | 0.5% | 4,080 | 0.5% |
| oxArticle::__set | 1 | 7.1% | 17 | 0.0% | 0 | 0.0% | 1,328 | 0.1% | 392 | 0.0% |
| stopProfile | 2 | 14.3% | 16 | 0.0% | 0 | 0.0% | 1,592 | 0.2% | 1,320 | 0.1% |
| oxArticle::_assignPersistentParam | 1 | 7.1% | 15 | 0.0% | 0 | 0.0% | 2,640 | 0.3% | 2,560 | 0.3% |
| startProfile | 2 | 14.3% | 14 | 0.0% | 0 | 0.0% | 1,968 | 0.2% | 968 | 0.1% |
| oxArticle::_assignComparisonListFlag | 1 | 7.1% | 13 | 0.0% | 0 | 0.0% | 4,168 | 0.5% | 2,888 | 0.3% |