(microsec) | (microsecs) | MemUse (bytes) | PeakMemUse (bytes) | |||||||
|---|---|---|---|---|---|---|---|---|---|---|
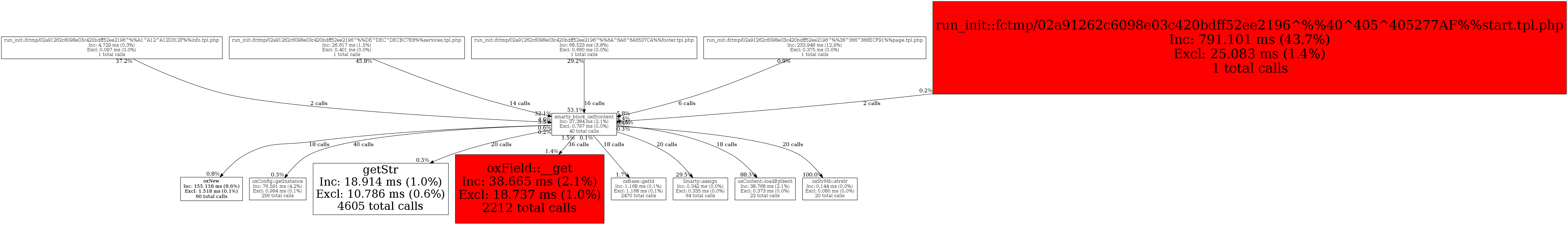
| smarty_block_oxifcontent | 40 | 15.2% | 37,384 | 2.1% | 16,001 | 1.7% | 518,672 | 2.1% | 157,952 | 0.6% |
| Exclusive Metrics for Current Function | 797 | 2.1% | 0 | 0.0% | 26,872 | 5.2% | 0 | 0.0% | ||
| run_init::fctmp/02a91262c6098e03c420bdff52ee2196^%%6A^6A6^6A6537CA%%footer.tpl.php | 16 | 40.0% | 19,833 | 53.1% | 8,001 | 50.0% | 158,632 | 30.6% | 0 | 0.0% |
| run_init::fctmp/02a91262c6098e03c420bdff52ee2196^%%DE^DEC^DECBC7E8%%services.tpl.php | 14 | 35.0% | 11,999 | 32.1% | 8,000 | 50.0% | 270,440 | 52.1% | 157,952 | 100.0% |
| run_init::fctmp/02a91262c6098e03c420bdff52ee2196^%%36^366^366ECF91%%page.tpl.php | 6 | 15.0% | 2,172 | 5.8% | 0 | 0.0% | 18,784 | 3.6% | 0 | 0.0% |
| run_init::fctmp/02a91262c6098e03c420bdff52ee2196^%%A1^A12^A12D312F%%info.tpl.php | 2 | 5.0% | 1,722 | 4.6% | 0 | 0.0% | 17,232 | 3.3% | 0 | 0.0% |
| run_init::fctmp/02a91262c6098e03c420bdff52ee2196^%%40^405^405277AF%%start.tpl.php | 2 | 5.0% | 1,658 | 4.4% | 0 | 0.0% | 53,584 | 10.3% | 0 | 0.0% |
| oxContent::loadByIdent | 18 | 9.5% | 34,213 | 91.5% | 12,001 | 75.0% | 367,944 | 70.9% | 157,952 | 100.0% |
| oxNew | 18 | 9.5% | 1,280 | 3.4% | 4,000 | 25.0% | 109,376 | 21.1% | 0 | 0.0% |
| oxField::__get | 36 | 18.9% | 539 | 1.4% | 0 | 0.0% | 5,256 | 1.0% | 0 | 0.0% |
| oxConfig::getInstance | 40 | 21.1% | 227 | 0.6% | 0 | 0.0% | 1,104 | 0.2% | 0 | 0.0% |
| oxStrMb::strstr | 20 | 10.5% | 144 | 0.4% | 0 | 0.0% | 4,256 | 0.8% | 0 | 0.0% |
| Smarty::assign | 20 | 10.5% | 101 | 0.3% | 0 | 0.0% | 1,672 | 0.3% | 0 | 0.0% |
| getStr | 20 | 10.5% | 63 | 0.2% | 0 | 0.0% | 1,096 | 0.2% | 0 | 0.0% |
| oxBase::getId | 18 | 9.5% | 20 | 0.1% | 0 | 0.0% | 1,096 | 0.2% | 0 | 0.0% |