(microsec) | (microsecs) | MemUse (bytes) | PeakMemUse (bytes) | |||||||
|---|---|---|---|---|---|---|---|---|---|---|
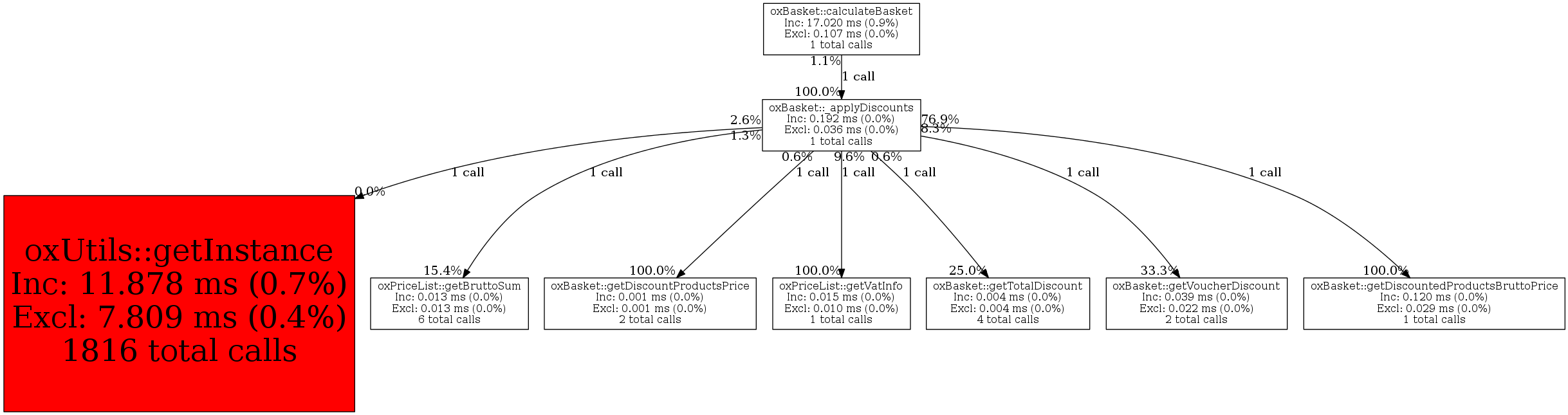
| oxBasket::_applyDiscounts | 1 | 2.4% | 192 | 0.0% | 0 | 0.0% | 24,528 | 0.1% | 23,848 | 0.1% |
| Exclusive Metrics for Current Function | 36 | 18.8% | 0 | N/A% | 3,944 | 16.1% | 4,056 | 17.0% | ||
| oxBasket::calculateBasket | 1 | 100.0% | 192 | 100.0% | 0 | N/A% | 24,528 | 100.0% | 23,848 | 100.0% |
| oxBasket::getDiscountedProductsBruttoPrice | 1 | 14.3% | 120 | 62.5% | 0 | N/A% | 12,000 | 48.9% | 11,488 | 48.2% |
| oxPriceList::getVatInfo | 1 | 14.3% | 15 | 7.8% | 0 | N/A% | 2,944 | 12.0% | 2,824 | 11.8% |
| oxBasket::getVoucherDiscount | 1 | 14.3% | 13 | 6.8% | 0 | N/A% | 1,112 | 4.5% | 1,192 | 5.0% |
| oxUtils::getInstance | 1 | 14.3% | 4 | 2.1% | 0 | N/A% | 1,104 | 4.5% | 1,104 | 4.6% |
| oxPriceList::getBruttoSum | 1 | 14.3% | 2 | 1.0% | 0 | N/A% | 1,192 | 4.9% | 1,072 | 4.5% |
| oxBasket::getDiscountProductsPrice | 1 | 14.3% | 1 | 0.5% | 0 | N/A% | 1,120 | 4.6% | 1,000 | 4.2% |
| oxBasket::getTotalDiscount | 1 | 14.3% | 1 | 0.5% | 0 | N/A% | 1,112 | 4.5% | 1,112 | 4.7% |