(microsec) | (microsecs) | MemUse (bytes) | PeakMemUse (bytes) | |||||||
|---|---|---|---|---|---|---|---|---|---|---|
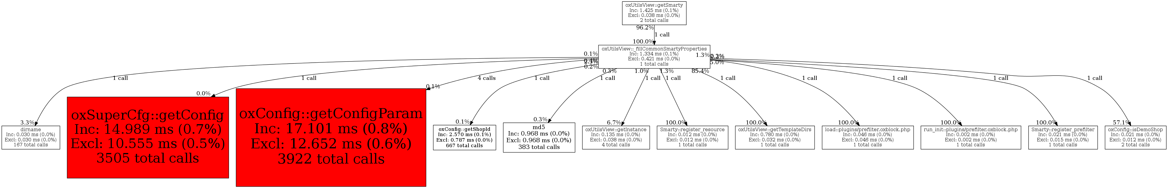
| oxUtilsView::_fillCommonSmartyProperties | 1 | 4.5% | 1,334 | 0.1% | 0 | 0.0% | 46,776 | 0.2% | 45,432 | 0.2% |
| Exclusive Metrics for Current Function | 421 | 31.6% | 0 | N/A% | 8,888 | 19.0% | 8,632 | 19.0% | ||
| oxUtilsView::getSmarty | 1 | 100.0% | 1,334 | 100.0% | 0 | N/A% | 46,776 | 100.0% | 45,432 | 100.0% |
| oxUtilsView::getTemplateDirs | 1 | 6.7% | 780 | 58.5% | 0 | N/A% | 14,096 | 30.1% | 13,680 | 30.1% |
| load::plugins/prefilter.oxblock.php | 1 | 6.7% | 46 | 3.4% | 0 | N/A% | 2,032 | 4.3% | 4,488 | 9.9% |
| oxConfig::getConfigParam | 4 | 26.7% | 21 | 1.6% | 0 | N/A% | 1,128 | 2.4% | 1,728 | 3.8% |
| Smarty::register_prefilter | 1 | 6.7% | 21 | 1.6% | 0 | N/A% | 5,656 | 12.1% | 3,968 | 8.7% |
| oxConfig::isDemoShop | 1 | 6.7% | 12 | 0.9% | 0 | N/A% | 2,720 | 5.8% | 2,480 | 5.5% |
| Smarty::register_resource | 1 | 6.7% | 12 | 0.9% | 0 | N/A% | 5,264 | 11.3% | 4,912 | 10.8% |
| oxUtilsView::getInstance | 1 | 6.7% | 9 | 0.7% | 0 | N/A% | 1,128 | 2.4% | 1,128 | 2.5% |
| oxSuperCfg::getConfig | 1 | 6.7% | 4 | 0.3% | 0 | N/A% | 1,200 | 2.6% | 1,080 | 2.4% |
| md5 | 1 | 6.7% | 3 | 0.2% | 0 | N/A% | 1,192 | 2.5% | 1,104 | 2.4% |
| run_init::plugins/prefilter.oxblock.php | 1 | 6.7% | 2 | 0.1% | 0 | N/A% | 1,144 | 2.4% | 0 | 0.0% |
| oxConfig::getShopId | 1 | 6.7% | 2 | 0.1% | 0 | N/A% | 1,120 | 2.4% | 1,120 | 2.5% |
| dirname | 1 | 6.7% | 1 | 0.1% | 0 | N/A% | 1,208 | 2.6% | 1,112 | 2.4% |