XH GUI


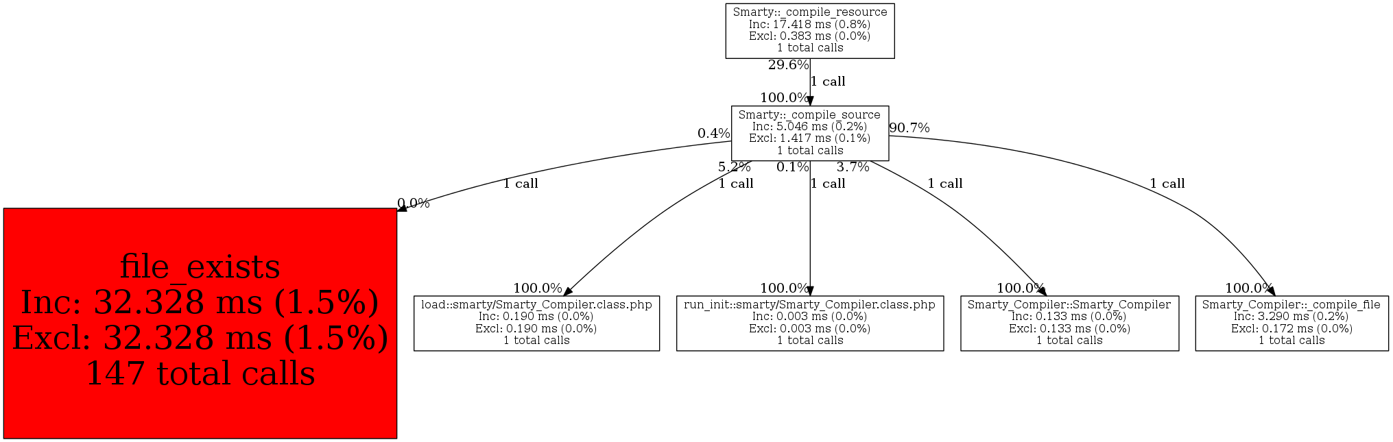
Parent/Child report for Smarty::_compile_source [View Callgraph ]


Function NameCallsCalls%Incl. Wall Time
(microsec)
IWall%Incl. CPU
(microsecs)
ICpu%Incl.
MemUse
(bytes)
IMemUse%Incl.
PeakMemUse
(bytes)
IPeakMemUse%
Current Function
Smarty::_compile_source1 8.3% 5,046 0.2% 0 0.0% 262,280 1.2% 209,000 0.9%
Exclusive Metrics for Current Function1,417 28.1% 0 N/A% 18,120 6.9% 3,808 1.8%
Parent function
Smarty::_compile_resource1 100.0% 5,046 100.0% 0 N/A% 262,280 100.0% 209,000 100.0%
Child functions
Smarty_Compiler::_compile_file1 20.0% 3,290 65.2% 0 N/A% 64,008 24.4% 54,712 26.2%
load::smarty/Smarty_Compiler.class.php1 20.0% 190 3.8% 0 N/A% 106,144 40.5% 56,912 27.2%
Smarty_Compiler::Smarty_Compiler1 20.0% 133 2.6% 0 N/A% 71,784 27.4% 92,320 44.2%
file_exists1 20.0% 13 0.3% 0 N/A% 1,096 0.4% 432 0.2%
run_init::smarty/Smarty_Compiler.class.php1 20.0% 3 0.1% 0 N/A% 1,128 0.4% 816 0.4%