(microsec) | (microsecs) | MemUse (bytes) | PeakMemUse (bytes) | |||||||
|---|---|---|---|---|---|---|---|---|---|---|
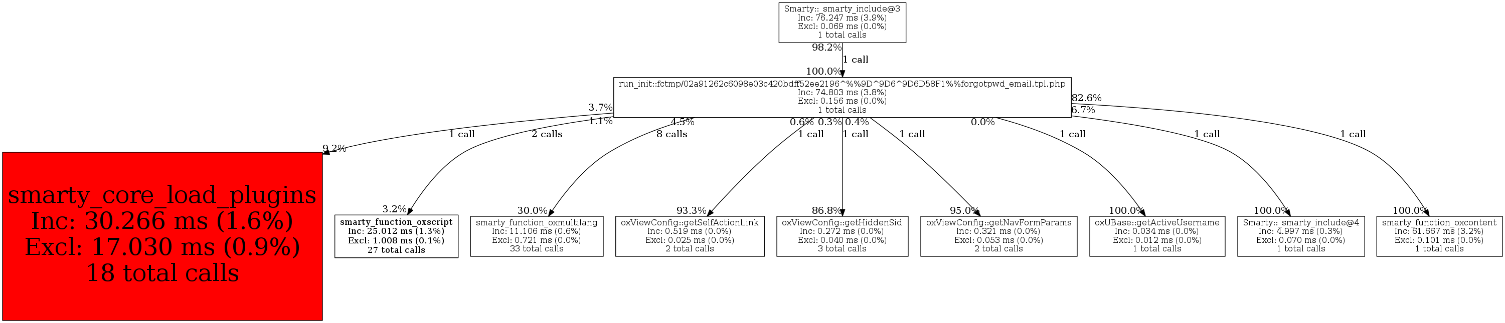
| run_init::fctmp/02a91262c6098e03c420bdff52ee2196^%%9D^9D6^9D6D58F1%%forgotpwd_email.tpl.php | 1 | 2.0% | 74,803 | 3.8% | 8,000 | 0.9% | 679,536 | 2.8% | 711,480 | 2.8% |
| Exclusive Metrics for Current Function | 156 | 0.2% | 0 | 0.0% | -2,368 | -0.3% | 776 | 0.1% | ||
| Smarty::_smarty_include@3 | 1 | 100.0% | 74,803 | 100.0% | 8,000 | 100.0% | 679,536 | 100.0% | 711,480 | 100.0% |
| smarty_function_oxcontent | 1 | 5.9% | 61,667 | 82.4% | 4,000 | 50.0% | 280,248 | 41.2% | 288,936 | 40.6% |
| Smarty::_smarty_include@4 | 1 | 5.9% | 4,997 | 6.7% | 0 | 0.0% | 25,160 | 3.7% | 0 | 0.0% |
| smarty_function_oxmultilang | 8 | 47.1% | 3,336 | 4.5% | 4,000 | 50.0% | 281,304 | 41.4% | 383,720 | 53.9% |
| smarty_core_load_plugins | 1 | 5.9% | 2,783 | 3.7% | 0 | 0.0% | 8,544 | 1.3% | 0 | 0.0% |
| smarty_function_oxscript | 2 | 11.8% | 805 | 1.1% | 0 | 0.0% | 2,440 | 0.4% | 0 | 0.0% |
| oxViewConfig::getSelfActionLink | 1 | 5.9% | 484 | 0.6% | 0 | 0.0% | 13,768 | 2.0% | 0 | 0.0% |
| oxViewConfig::getNavFormParams | 1 | 5.9% | 305 | 0.4% | 0 | 0.0% | 24,424 | 3.6% | 24,696 | 3.5% |
| oxViewConfig::getHiddenSid | 1 | 5.9% | 236 | 0.3% | 0 | 0.0% | 41,712 | 6.1% | 13,352 | 1.9% |
| oxUBase::getActiveUsername | 1 | 5.9% | 34 | 0.0% | 0 | 0.0% | 4,304 | 0.6% | 0 | 0.0% |